Сочетает в себе 4К-проектор и небольшой саундбар.
Подпишитесь на рассылку и получайте свежие новости и акции нашего магазина.
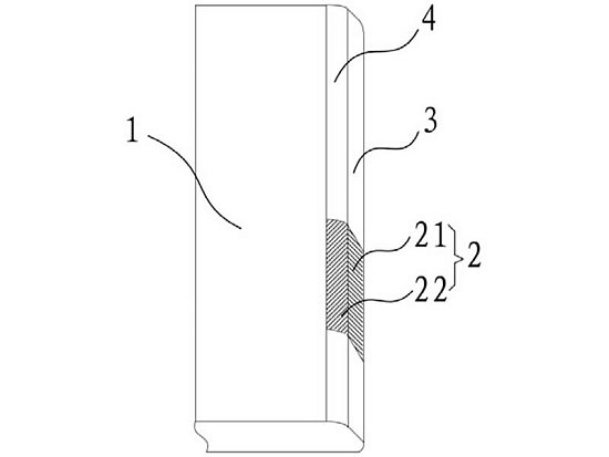
Что делать производителям смартфонов в эпоху, когда тыловой сканер отпечатков ушел в прошлое, подэкранный слишком дорогое удовольствие для массового внедрения, а смартфоны с каждым годом становятся всё тоньше? Патентовать новый боковой сканер отпечатков с увеличенной площадью контакта.
Реальной проблемой для производителей смартфонов стал тот факт, что смартфоны становятся тоньше, а кнопки питания меньше. В результате боковому сканеру достается слишком мало места и выросло количество ложных срабатываний. В компании Xiaomi озаботились решением этого вопроса и подали патентную заявку на сканер с увеличенной площадью контакта. В заявке сканер охватывает не только кнопку питания, но и боковые грани смартфона.
- Комментарии








